Поиск товара:

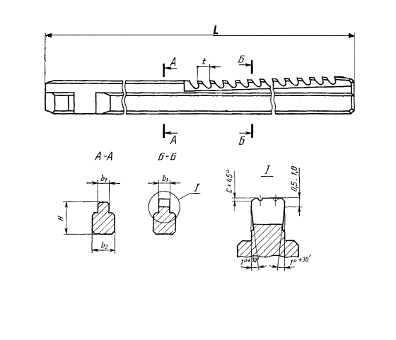
Протяжка шпоночная 2405-1257 4мм Js9 (Р6М5, b2-6мм, H-7мм, L-730мм, z-47, t-10мм) ГОСТ 18218-90

Артикул: 39633

Состояние: Новый

Кол-во на складах: 1 шт.

Вес: 210

Цена:
1 Руб.
Цена на товар указана с учетом НДС 5%
Товар на переоценке

Счет на оплату придет автоматически, после оформления заказа через корзину.

Доставка по всей России