Поиск товара:

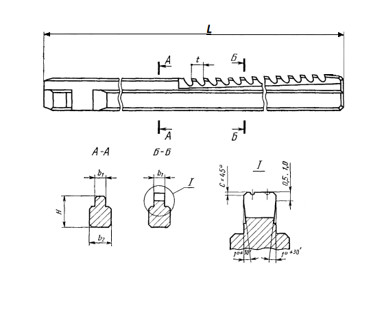
Протяжка шпоночная 6мм (Р6М5, b2-10мм, H-14мм, L-890мм, z-42, t-14мм) ГОСТ 18218-90

Артикул: 23739

Состояние: Новый

Кол-во на складах: 3 шт.

Вес: 760

Цена:
13 209 Руб.
Цена на товар указана с учетом НДС 5%

Счет на оплату придет автоматически, после оформления заказа через корзину.

Доставка по всей России